¿Cómo aislar una cubierta inclinada tradicional desde el interior?

Aislar cubierta inclinada tradicional desde el interior.

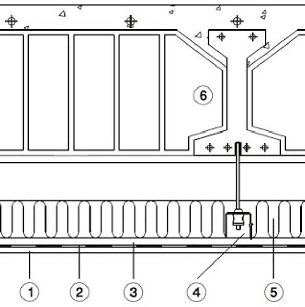
El aislante debe de estar suspendido y anclado a viguetas de hormigón, con acabado madera o DM. ¿Cómo disponer las capas de aislantes para evitar condensaciones?

Pantxo
Pantxo preguntó sobre
Reformas Viviendas
Actualizado Hace 9 años

¿Cómo aislar una cubierta inclinada tradicional desde el interior?

Aislar cubierta inclinada tradicional desde el interior.

El aislante debe de estar suspendido y anclado a viguetas de hormigón, con acabado madera o DM. ¿Cómo disponer las capas de aislantes para evitar condensaciones?

2 fotos
¿Tienes alguna pregunta?
Pregunta a la comunidad

11 Respuestas

Respuestas útiles 3
José Luis Búrdalo Martínez
José Luis Búrdalo Martínez
José Luis Búrdalo Martínez respondió... compás y cartabón (Alcalá de Henares, Madrid) compás y cartabón - hace 9 años

Buenas noches.

Para evitar las condensaciones lo importante no es la forma en que coloque y suspenda el aislamiento (supongo que se refiere a un thermochip o similar), lo importante es que en el espacio intermedio entre el aislamiento y la cubierta haya una correcta ventilación y lo más continua posible.

Gracias. Un saludo.

Responder
¿Inapropiado? Reporta una incidencia
José Luis Búrdalo Martínez
José Luis Búrdalo Martínez
José Luis Búrdalo Martínez replicó... compás y cartabón (Alcalá de Henares, Madrid) compás y cartabón - hace 9 años

Ups... no había leído "suspendido" así que, efectivamente, tal como indica Carlos, Thermochip no vale.

¿Inapropiado? Reporta una incidencia
Carlos Muñoz
Carlos Muñoz
Carlos Muñoz respondió... Rehabilitaciones Alcala Slu (Colmenar Viejo, Madrid) Rehabilitaciones Alcala Slu - hace 9 años

Buenos días, visto desde el interior, primero debe colocar la barrera de vapor y despues el aislamiento. Al hacerlo desde el interior simpre tendra problemas con los descuelgues para el falso techo, que si no los trata correctamente son puntos de paso del vapor de agua.

En las imagenes no se aprecia bien, pero debe comprobar que esté libre la ventilación en el alero y cumbrera, así como en hastiales.

Por último, no creo que sea buena idea colocar un panel thermochip, que pesa un mínimo de 40kg/m² y que se instala sobre las vigas o tabiques palomeros, a modo de falso techo...

En nuestra ficha puede ver un proyecto de rehabilitacion de una casa en la que se instaló correctamente el panel sandwich de 8cm. (Sobre las vigas)

Responder
¿Inapropiado? Reporta una incidencia
Carlos Muñoz
Carlos Muñoz
Carlos Muñoz respondió... Rehabilitaciones Alcala Slu (Colmenar Viejo, Madrid) Rehabilitaciones Alcala Slu - hace 9 años

En estos casos con vigas exentas es más fácil y rápido colgar el sistema que le comentan por encima de la correa, prepare las varillas roscadas a modo de gancho y páselo por encima. Como tiene el hueco de la cobija de la teja lo puede pasar sin problemas, si no lo tuviera y existiera el problema de exceso de armado, buscaría anclar en el lateral de la vigueta.

Responder
¿Inapropiado? Reporta una incidencia
Carlos Muñoz
Carlos Muñoz
Carlos Muñoz replicó... Rehabilitaciones Alcala Slu (Colmenar Viejo, Madrid) Rehabilitaciones Alcala Slu - hace 9 años

Cuando digo lateral me refiero anclar al alma.

¿Inapropiado? Reporta una incidencia
Alejandro Añon Espallargas Alcorisa
Alejandro Añon Espallargas Alcorisa
Alejandro Añon Espallargas Alcorisa respondió... Construcciones Y Carpinteria Hermanos Añon (Alcorisa, Teruel) Construcciones Y Carpinteria Hermanos Añon - hace 9 años

si que es una opción, pero si las vigas son de mas de 5 metros de largas suelen tener muchas varillas en su interior y es muy difícil de no atinar con alguna, son muchos los taladros que se tienen que realizar y si se parten las varillas al taladrar la viga pierde parte e su fuerza, en algunos casos he visto poner los tacos con pistola de pólvora y tener que cambiar alguna viga por el destrozo ocasionado

Responder
¿Inapropiado? Reporta una incidencia
Pantxo respondió... Particular - hace 9 años

Gracias por su atención,

para un techo inclinado ¿la solución que propone Coresma sería es posible?

Responder
¿Inapropiado? Reporta una incidencia
Pantxo respondió... Particular - hace 9 años

Gracias por los consejos.

¿alguien podría indicarme un método para sujetar la capa aislante y el friso?...

¿ perforar la viguetas puede ser peligroso?

Responder
¿Inapropiado? Reporta una incidencia
Coresma Servicios Integrales SL
Coresma Servicios Integrales SL
Coresma Servicios Integrales SL replicó... Coresma Servicios Integrales SL (Madrid, Madrid) Coresma Servicios Integrales SL - hace 9 años

Buenas tardes;

Se sujetaría a las viguetas mediante perfilería auxiliar anclada.El sistema de cuelgue para su fijación a las viguetas del forjado soporte se emplean tacos de expansión M-6.

Un saludo

¿Inapropiado? Reporta una incidencia
Jose Luis
Jose Luis
Jose Luis respondió... Construsan (Torrejón de Ardoz, Madrid) Construsan - hace 9 años

Lo aconsejable es lana de roca con papel kraf y dejar una separacion entre el aislante y la cubierta por igual en todo el perimetro, despues la terminacion puede ser con panel de madera o pladur.

Responder
¿Inapropiado? Reporta una incidencia
Coresma Servicios Integrales SL
Coresma Servicios Integrales SL
Coresma Servicios Integrales SL respondió... Coresma Servicios Integrales SL (Madrid, Madrid) Coresma Servicios Integrales SL - hace 9 años

Buenos días;

Los aislantes térmicos en manta (lana de vidrio o lana de roca) llevan un papel "Kraft" en una de sus caras, como barrera de vapor para corte de Condesaciones . SE COLOCAN EN EL LADO CÁLIDO (En su caso la barrera de vapor o papel "Kraft" se debe colocar en el LADO INTERIOR)

Gracias y un saludo.

Responder
¿Inapropiado? Reporta una incidencia
Deja tu respuesta

Para escribir una respuesta debes estar registrado. No está permitido incluir teléfonos de contacto, e-mails o enlaces a páginas web externas en este apartado, dicho contenido será moderado y eliminado.

Adjuntar fotografías
Pide presupuestos de reformas viviendas en tu zona

Escoge un tipo de trabajo

¿Eres un profesional? Consigue más clientes fácilmente
Registrarse como profesional